黄漫

黄漫 行政管理权力运行工作流程图

2021-01-22 15:48 作者:本站编辑 审核: 浏览:

-

-

-

-

黄漫 干部选拔任命工作流程图

黄漫 公章使用工作流程图

黄漫 盖章流程图

黄漫 固定资产购置流程图



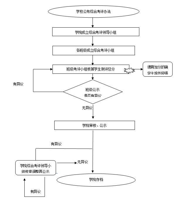
黄漫 学生综合考评流程图